VinFast đăng ký thêm 6 phác thảo cực đẹp

Loạt ôtô mới vừa được VinFast đăng ký kiểu dáng công nghiệp, trong đó có cả phiên bản xe chạy xăng lẫn điện hoàn toàn.

 
Mới đây theo tài liệu được Cục Sở hữu Trí tuệ Việt Nam đăng tải, tiếp tục có 7 mẫu xe ôtô điện mới của VinFast được cấp phép sở hữu bản quyền kiểu dàng công nghiệp. Trong đó, có 6 mẫu vẫn còn nằm trong trạng thái phác thảo, được chắp bút bởi Filippo Perin và bộ 3 Cartia Guglielmo, Dimitri Vicedomini, Nazzareno Epifani thuộc công ty thiết kế Pininfarina đến từ Ý – đối tác quen thuộc của hãng xe Việt. Ngược lại, mẫu xe thứ 7 có thiết kế 3D trông khá hoàn thiện lại là tác phẩm của Jaehoon Lee, hiện đang là nhà thiết kế cao cấp của GM.
Đầu tiên, chúng ta sẽ cùng nói về mẫu xe ôtô điện VinFast đã được hoàn thiện bằng đồ họa 3D. Dựa vào hình ảnh có thể thấy, chiếc xe này không có lưới tản nhiệt, ám chỉ đây sẽ là xe điện hoàn toàn và rất có thể đây sẽ là một chiếc crossover 5 chỗ ngồi. Phần đầu xe có dải đèn LED chữ V đặc trưng của VinFast, trong khi đó khu vực đuôi sau được vuốt khá giống với Lexus RX 350, đầy tính thẩm mỹ và thể thao. Bên cạnh đó, la-zăng của mẫu xe này có kích thước khá lớn, rất có thể sẽ là 20 inch.
VinFast dang ky them 6 phac thao cuc dep
Mẫu xe điện được thiết kế 3D bởi Jaehoon Lee. 
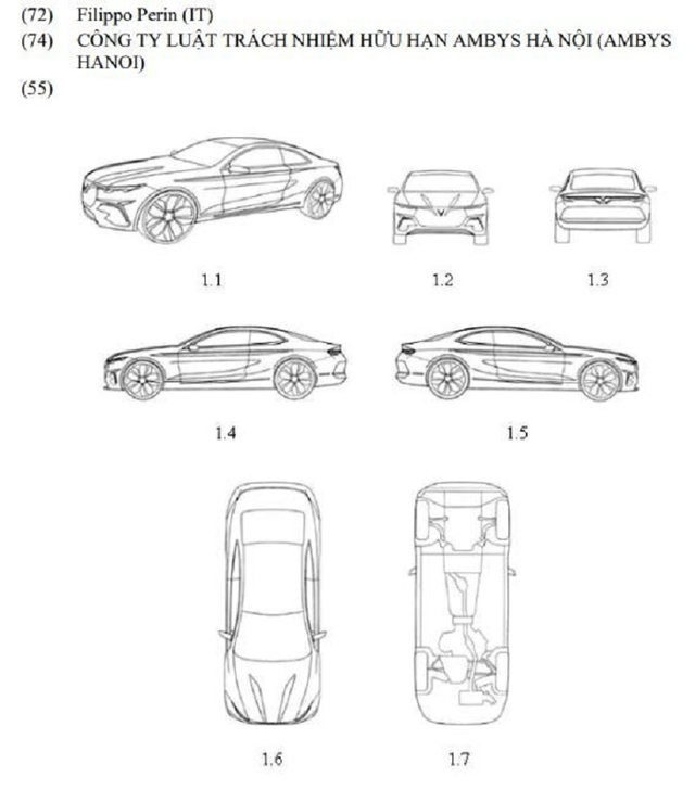
Tiếp đến, bản phác thảo đến từ Filippo Perin chính là mẫu VinFast Lux A2.0 2 cửa được hãng xe Việt xin cấp bản quyền kiểu dáng công nghiệp từ năm ngoái. Mẫu xe này từng nhận được khá nhiều sự quan tâm từ khách Việt do sở hữu thiết kế coupe đầy thể thao với mui xe dài và dốc, trần xe vuốt thẳng xuống đuôi sau. Thế nhưng cho đến nay vẫn chưa được hoàn thiện và ngoài ra, việc đăng ký bản quyền kiểu dáng chỉ là một trong những việc các hãng xe làm để bảo vệ quyền lợi của mình, phòng trường hợp muốn phát triển một mẫu xe phác thảo thành bản thương mại chính thức.
VinFast dang ky them 6 phac thao cuc dep-Hinh-2
Chiếc VinFast Lux A2.0 2 cửa từng gây xôn xao vào năm ngoái đến nay vẫn chỉ là bản phác thảo. 
Mẫu xe tiếp theo nhiều khả năng tiếp tục là một mẫu crossover với nhiều chi tiết tương đồng với VinFast VF e35 chạy điện như kính hông hay đèn hậu. Tuy nhiên phần đầu xe có khá nhiều điểm khác biệt như lưới tản nhiệt lớn ám chỉ đây là xe xăng, đèn chiếu sáng được đặt lên cao còn la-zăng chưa được ấn định thiết kế.
VinFast dang ky them 6 phac thao cuc dep-Hinh-3
Mẫu crossover chạy xăng có nhiều điểm giống với VF e35, có khả năng thuộc cỡ D. 
Kế đến là một mẫu xe có kiểu dáng khá giống một mẫu hatchback hạng B với thiết kế khá lạ lẫm nhưng mặt ca-lăng trước có những đường nét gây liên tưởng đến VF e34 cách điệu. Ngoài ra, phần đầu xe được bọc kín nên rất có khả năng đây sẽ lại là một mẫu ô tô điện.
VinFast dang ky them 6 phac thao cuc dep-Hinh-4
Thiết kế của mẫu xe này khá giống một chiếc hatchback hạng B. 
Với sự xuất hiện của mẫu xe trên, không mấy ngạc nhiên khi mẫu xe tiếp theo được hãng xe Việt đăng ký bản quyền kiểu dáng có phom tương đối giống một mẫu hatchback hạng A. Thiết kế của mẫu xe này cũng có nhiều điểm giống với sản phẩm bên trên.
VinFast dang ky them 6 phac thao cuc dep-Hinh-5
Tiếp tục là một mẫu hatckback hạng A chạy điện. 
Hai mẫu xe còn lại lần lượt mang dáng vẻ hatchback hạng C và sedan hạng B. Trong đó, mẫu sedan hạng B có thiết kế khá giống với VinFast Lux A2.0, từ phần lưới tản nhiệt cho đến cụm đèn trước và tất nhiên đây sẽ là một mẫu xe chạy xăng.
VinFast dang ky them 6 phac thao cuc dep-Hinh-6
Thiết kế 2 mẫu xe cuối cùng trong đợt VinFast được cấp phép sở hữu bản quyền kiểu dáng công nghiệp này. 
Hiện tại, hãng xe Việt mới chỉ giới thiệu 3 mẫu ôtô điện là VF e34, VF e35 và VF e36. Trong đó, VinFast VF e34 là sản phẩm dành riêng cho thị trường Việt Nam, đang nhận cọc và dự kiến giao xe vào tháng 11 tới đây. Hai mẫu xe VF e35 và VF e36 ngoài quê nhà cũng sẽ lên đường chinh phục “trời tây” vào năm sau, có cả bản chạy xăng lẫn chạy điện.

Cuộc đời của Anh hùng Lao động Giáo sư Vũ Khiêu

Sinh năm 1916 tại Nam Định, Giáo sư Vũ Khiêu có nhiều năm tham gia hoạt động cách mạng, nghiên cứu khoa học, giảng dạy và viết sách.

Theo thông tin từ gia đình, Giáo sư, Anh hùng Lao động thời kỳ đổi mới Vũ Khiêu qua đời vào lúc 12h37 ngày 30/9 tại Bệnh viện Hữu Nghị. Giáo sư Vũ Khiêu (tên thật là Đặng Vũ Khiêu) sinh ngày 19/9/1916 tại làng Hành Thiện, xã Xuân Hồng, huyện Xuân Trường, tỉnh Nam Định.

KSFinance sẽ niêm yết vào ngày 6/10 với giá tham chiếu 36.000 đồng/cp

(Vietnamdaily) - CTCP Tập đoàn KSFinance vừa thông báo về việc niêm yết cổ phiếu và ngày giao dịch đầu tiên trên Sở giao dịch chứng khoán Hà Nội (HNX).

Theo đó, 300 triệu cổ phiếu KSF sẽ chính thức niêm yết từ 6/10/2021 với giá tham chiếu trong ngày giao dịch đầu tiên là 36.000 đồng/cp, tương đương với giá trị vốn hóa khi chào sàn đạt 10.800 tỷ đồng.

Được biết, CTCP Tập đoàn KSFinance được thành lập vào tháng 2/2015, hoạt động chủ yếu trong lĩnh vực đầu tư và phát triển dự án bất động sản, phân phối bán hàng và cho thuê bất động sản đầu tư. Đến nay tổng số vốn điều lệ của KSF là 3.000 tỷ đồng.

Bộ Xây dựng: Một số môi giới bất động sản làm ăn 'chụp giật', chỉ tư vấn cho xong để kiếm tiền

(Vietnamdaily) - Bộ Xây dựng đánh giá hoạt động môi giới bất động sản còn thiếu chuyên nghiệp, nặng tính “chụp giật”, kiếm lời, chưa tôn trọng khách hàng.

Môi giới địa ốc "chụp giật", gây lũng đoạn thị trường

Bộ Xây dựng đang lấy ý kiến góp ý cho dự thảo Hồ sơ đề nghị sửa Luật Nhà ở, Luật Kinh doanh bất động sản. Trong báo cáo tổng kết thi hành Luật Kinh doanh bất động sản 2014, Bộ Xây dựng đã chỉ ra một số các hạn chế xuất hiện trên thị trường thời gian qua.