Báo Tri thức và Cuộc sống - TIN TỨC PHỔ BIẾN KIẾN THỨC 24H
  • Tài chính - Ngân hàng
  • Bất động sản
  • Golf & Doanh nhân
  • Doanh nghiệp
  • Tin 24/7
  • Hitech - Xe
  • Tiêu dùng - Bạn đọc
VietnamDaily Relax
Báo Tri thức và Cuộc sống - TIN TỨC PHỔ BIẾN KIẾN THỨC 24H
Tài chính - Ngân hàng Bất động sản Golf & Doanh nhân Doanh nghiệp Tin 24/7 Hitech - Xe Tiêu dùng - Bạn đọc

Hitech - Xe

Sony gây sốt với bằng sáng chế AI chơi game thay người

12/01/2026 21:22

Bằng sáng chế mới hé lộ “bóng mờ” AI của Sony có thể hướng dẫn, minh họa thao tác, thậm chí chơi game thay người dùng khi gặp khó.

Thiên Trang (TH)

Nghi vấn AI xâm nhập LMHT, cộng đồng gọi tên Elon Musk

Một bằng sáng chế do Sony nộp từ hơn một năm trước bất ngờ được cộng đồng mạng đào lại và nhanh chóng gây chú ý.
Một bằng sáng chế do Sony nộp từ hơn một năm trước bất ngờ được cộng đồng mạng đào lại và nhanh chóng gây chú ý.
Tài liệu mô tả một “bóng mờ” AI - phiên bản ảo của nhân vật người chơi - xuất hiện trực tiếp trong game để hỗ trợ khi cần thiết.
Tài liệu mô tả một “bóng mờ” AI - phiên bản ảo của nhân vật người chơi - xuất hiện trực tiếp trong game để hỗ trợ khi cần thiết.
AI này có thể minh họa thao tác, đưa ra chuỗi nút điều khiển mẫu hoặc hướng dẫn cách vượt qua các câu đố phức tạp.
AI này có thể minh họa thao tác, đưa ra chuỗi nút điều khiển mẫu hoặc hướng dẫn cách vượt qua các câu đố phức tạp.
Trong một số tình huống, “bóng mờ” còn trò chuyện với người chơi và chỉ dẫn từng bước cần thực hiện tiếp theo.
Trong một số tình huống, “bóng mờ” còn trò chuyện với người chơi và chỉ dẫn từng bước cần thực hiện tiếp theo.
Đáng chú ý hơn, AI thậm chí có thể hoàn thành một phần nội dung game thay cho người chơi nếu được kích hoạt.
Đáng chú ý hơn, AI thậm chí có thể hoàn thành một phần nội dung game thay cho người chơi nếu được kích hoạt.
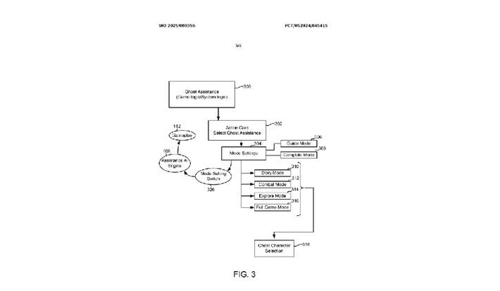
Bằng sáng chế cũng đề cập đến nhiều chế độ hỗ trợ khác nhau như Story Mode, Combat Mode hay Full Game Mode.
Bằng sáng chế cũng đề cập đến nhiều chế độ hỗ trợ khác nhau như Story Mode, Combat Mode hay Full Game Mode.
Ý tưởng này được xem là bước phát triển nâng cao của tính năng Game Help trên PS5, vốn chỉ dừng ở mức gợi ý bằng video và hình ảnh.
Ý tưởng này được xem là bước phát triển nâng cao của tính năng Game Help trên PS5, vốn chỉ dừng ở mức gợi ý bằng video và hình ảnh.
Trong bối cảnh AI ngày càng phổ biến trong ngành game, sáng kiến của Sony vừa mở ra tiềm năng mới vừa làm dấy lên tranh cãi về ranh giới giữa hỗ trợ và “chơi hộ”.
Trong bối cảnh AI ngày càng phổ biến trong ngành game, sáng kiến của Sony vừa mở ra tiềm năng mới vừa làm dấy lên tranh cãi về ranh giới giữa hỗ trợ và “chơi hộ”.
Mời quý độc giả xem thêm video: Dọn rác AI | Hà Nội 18h00

Bạn có thể quan tâm

Jaecoo J7 lập đỉnh doanh số, Omoda & Jaecoo lọt top 8 tại Anh

Jaecoo J7 lập đỉnh doanh số, Omoda & Jaecoo lọt top 8 tại Anh

Vòm Vàng của Mỹ đối mặt với thách thức về ngân sách và kiến trúc hệ thống

Vòm Vàng của Mỹ đối mặt với thách thức về ngân sách và kiến trúc hệ thống

Tội ác đáng sợ của 'bác sĩ tử thần' Michael Swango

Tội ác đáng sợ của 'bác sĩ tử thần' Michael Swango

Tiêm kích Mirage III/5 của Không quân Pakistan

Không quân Pakistan biến Mirage III thành nền tảng tên lửa tầm xa hiệu quả

Apple cảnh báo khẩn, đừng gọi lại tin nhắn lừa đảo

Apple cảnh báo khẩn, đừng gọi lại tin nhắn lừa đảo

Sự thật bất ngờ về đất nước vẫn đang ở năm 2018

Sự thật bất ngờ về đất nước vẫn đang ở năm 2018

Toyota Camry bất ngờ lọt top ôtô ế nhất thị trường Việt tháng 1/2026

Toyota Camry bất ngờ lọt top ôtô ế nhất thị trường Việt tháng 1/2026

Được lắp trên xe Stryker M-SHORAD, hệ thống laser năng lượng cao công suất 50 kW của Lục quân Mỹ được thiết kế để đối phó và tiêu diệt UAV cỡ nhỏ, đạn bay lảng vảng và một số mối đe dọa từ rocket, đạn cối với tốc độ ánh sáng, cung cấp một lựa chọn phòng không chi phí thấp, cơ số hỏa lực lớn cho các đơn vị cơ động.” (U.S. DoW)

Mỹ triển khai vũ khí năng lượng định hướng trên quy mô lớn

Xe tăng Type 96 của Lục quân Quân giải phóng nhân dân Trung Quốc (PLA), thuộc Tập đoàn quân 71, trong các cuộc diễn tập tháng 1

Xu hướng mới trong lực lượng xe tăng Trung Quốc: Từ Type 96 đến Type 100

Acerpure AQUA WP3, máy lọc nước thông minh cho smart home

Acerpure AQUA WP3, máy lọc nước thông minh cho smart home

Sự thật gây sốc về 'núi rác' cao nhất thế giới

Sự thật gây sốc về 'núi rác' cao nhất thế giới

Meituan đổ bộ Việt Nam, cuộc chiến giao đồ ăn bùng nổ

Meituan đổ bộ Việt Nam, cuộc chiến giao đồ ăn bùng nổ

Top tin bài hot nhất

Toyota RAV4 2026 cập bến Đông Nam Á, chờ mở bán tại Việt Nam

Toyota RAV4 2026 cập bến Đông Nam Á, chờ mở bán tại Việt Nam

14/02/2026 08:05
Sự thật gây sốc về 'núi rác' cao nhất thế giới

Sự thật gây sốc về 'núi rác' cao nhất thế giới

14/02/2026 13:07
Honda Super-One ra mắt - xe mini điện thể thao, giá dưới 20.000 USD

Honda Super-One ra mắt - xe mini điện thể thao, giá dưới 20.000 USD

14/02/2026 06:37
Sự thật bất ngờ về đất nước vẫn đang ở năm 2018

Sự thật bất ngờ về đất nước vẫn đang ở năm 2018

14/02/2026 19:02
Meituan đổ bộ Việt Nam, cuộc chiến giao đồ ăn bùng nổ

Meituan đổ bộ Việt Nam, cuộc chiến giao đồ ăn bùng nổ

14/02/2026 12:02

Giấy phép hoạt động báo chí số 29/GP-CBC Bộ TTTT cấp ngày 24/12/2020

Tổng biên tập: Nhà báo Nguyễn Thị Mai Hương

Phó Tổng biên tập: Nhà báo Nguyễn Danh Châu

Tòa soạn: Số 70 Trần Hưng Đạo, phường Cửa Nam, Hà Nội.

VPĐD tại TP.HCM: Số 54 Phạm Huy Thông, phường Hạnh Thông, Thành phố Hồ Chí Minh.

Điện thoại: 024 6 254 3519

Hotline: 096 523 77 56 (Toà soạn Hà Nội) / 091 122 12 22 (VPĐD TPHCM)

Email: tkts@kienthuc.net.vn

Chuyên trang của Báo

Báo Tri thức và Cuộc sống - TIN TỨC PHỔ BIẾN KIẾN THỨC 24H

Liên hệ quảng cáo

Email: quangcao.kienthuc@gmail.com

DMCA.com Protection Status