
Báo cáo mới của Reuters cho biết việc Apple và Hyundai đang ký kết thỏa thuận để sản xuất phiên bản beta đầu tiên cho chiếc Apple Car tại Mỹ vào năm 2022. Đây có thể là một trong nhiều canh bạc lớn mà công ty sẽ thực hiện trong thập kỷ tới, và có thể phải đối mặt với việc cạnh tranh khốc liệt từ các hãng xe điện khác.

Các nhà phân tích phố Wall cũng cho rằng Apple có nhiều lợi thế quan trọng, một phần là thương hiệu mạnh của họ. Ngoài ra là sản phẩm của một người khổng lồ công nghệ, gần như chắc chắn chiếc xe điện Apple Car sẽ mang trên mình không ít các công nghệ thú vị.

Các bằng sáng chế cho thấy chiếc xe điện của Apple sẽ như thế nào khi nó ra mắt. Mặc dù vậy cần lưu ý rằng, không có gì đảm bảo rằng mọi ý tưởng trong bằng sáng chế này sẽ trở thành hiện thực.

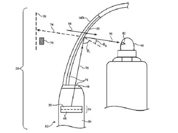
Theo bằng sáng chế số 10.866.414 B2 có tên "System with Holographic Head-Up Display" (Hệ thống với màn hình Holographic phía trước), kính chắn gió trên chiếc xe của Apple có thể có khả năng hiển thị hình ảnh 3 chiều Holographic.

Các nhà thiết kế Apple mô tả về một hệ thống có thể chiếu các hình ảnh 3 chiều holographic trên kính chắn gió hoặc các cửa sổ khác của ô tô. Các hình ảnh này có thể chứa thông tin về chiếc xe – bao gồm "tốc độ, hướng đi và vị trí" – hoặc thông tin về những gì xảy ra bên trong chiếc xe, như bài hát nào đang chơi trên radio.

Theo bằng sáng chế có tên "Concealed User Interfaces" (Các giao diện người dùng được giấu kín), màn hình cảm ứng hay các bảng điều khiển khác được giấu trong cánh cửa, cửa sổ hoặc các bề mặt khác.

Hành khách có thể chạm, bấm và nhấn vào bề mặt xung quanh. Một thiết bị nhập liệu đầu vào "được giấu bên dưới bề mặt" khi chạm vào sẽ sáng lên.

Bằng sáng chế số 10.825.255 B2 của công ty có tên "Augmented Virtual Display" (Màn hình ảo tăng cường) là giải pháp cho những người bị chứng say xe.

Một hệ thống thực tế tăng cường để chiếu lên những hình ảnh được làm ổn định cho những hành khách bị say xe. Theo bằng sáng chế: "Hệ thống VR này cũng có thể cải thiện năng suất, khi các hành khách có thể làm việc trong khi đang ngồi trong xe mà không bị say xe."

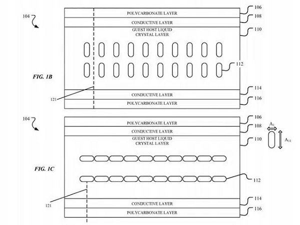
Bằng sáng chế số 10.843.535 B1 còn cho thấy chiếc xe của Apple có thể cho phép người dùng có thể đổi màu kính cửa sổ để đảm bảo sự riêng tư. Đây là một hệ thống với tấm phim có thể điều chỉnh màu sắc, được dán trên cửa sổ và kính chắn gió. Nó có thể đổi màu để chắn ánh sáng từ bên ngoài cũng như bảo vệ tính riêng tư cho hành khách ngồi bên trong.

Bằng sáng chế số 10.878.699 B2 còn hé lộ về một tính năng hữu ích khác có thể xuất hiện trên chiếc xe của Apple. Hệ thống trong bằng sáng chế có thể phát đi "các cảnh báo cho tài xế về một phương tiện hoặc các tình huống khác đang xảy ra dựa trên vị trí của những phương tiện xung quanh, thông tin loại phương tiện và thông tin khác về giao thông xung quanh lái xe".

Bằng sáng chế số 10.875.380 B2 của Apple còn mô tả về một hệ thống kiểm soát nhiệt độ mới có tên "Climate Control". Bằng sáng chế này mô tả chi tiết cách xác định "các điều kiện thoải mái tối ưu" trong nhiều tình huống khác nhau.